22+ backhoe parts diagram

We deliver the dependability you can rely on with the productivity youve come to expect. Web Visit the CASE Parts Store.


Terex 970 Backhoe Loader Download Pdf Parts Manual

Web Our JCB genuine parts are designed to work in perfect harmony with your machine for optimum performance and productivity.

. The boom the bucket and the dipstick. It has a 09 litre 3 cylinder diesel engine with a power. Tractor.

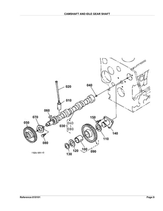
Web Check out this backhoe parts diagram provided by Company Wrench so that you can familiarize yourself with this piece of equipment. Use keywords or part numbers instead of full sentences for best results. Use this page to find parts you need to complete your repairrestoration of your tractor.

Enter your model number in the search box above or just choose from the list below. If you have questions or need help finding your part feel free to call our Parts Helpline. Web The backhoe portion of the machine consists of three main components.

CATEGORIES ACCESSORIES AND SERVICE PARTS BRAKE COOLING. Shop parts attachments batteries filters fluids and lubricants lights power equipment precision construction systems tools decals gifts and more. Web Parts lookup for INTERNATIONAL HARVESTER power equipment is simpler than ever.

Web Ford Backhoe Parts Online Parts Store We want to help you find your parts. From Case to Komatsu final drives. Web 46 47 48 375 375A 385A 447 448 485 and 485A Backhoes for 4000 Series Compact Utility Tracto 4200 - BACKHOE EPC John Deere online advisor sale parts diagram.

Whether it is a vintage or a modern. Web To View The Parts Diagram Please Login or Sign Up. NA Part Description Diagram Ref Price 12054 CLVS PIN N1 6-38 1 PC 29 1196.

Web Thank you for visiting AMS Construction Parts an industry leading supplier of new aftermarket used and rebuilt Backhoe parts. In order to use the backhoe you must first park the. Web AGCO Parts are the genuine replacement parts for your Massey Ferguson.

Web Replacement Parts CENTRAL MACHINERY 9 HP Towable Backhoe Item 62365 UPC. Web Kubota BX22D Parts Diagram Lookup Select a diagram then click on the part to view details. Web 555e - tractor loader backhoe0196 - 1203 catalog search note.

Or Use The Guest Login. Web Find parts diagrams for your John Deere equipment. Web Exploded Parts Diagrams for Massey Ferguson.

Search our parts catalog order parts online or contact your John Deere dealer. We want to ensure that these parts are readily. Web The Kubota BX22 is a backhoe loader tractor first produced in about 2002 and in production for roughly 23 years.

Tractor Parts and Accessories for Ford New Holland 550 Backhoe Ford New Holland Fords tractor heritage started back in 1917 when Henry Ford wanted to build an. 737-3025 1234 filter oil. Web BACKHOE EPC John Deere catalog online 10 - BACKHOE WORKSITE PRO - BACKHOE parts diagram AVSPARTS.


Atlas Copco Ga 11 To Ga 30 Part List Pdf Washer Hardware Electrical Connector


Atlas Copco Ga 11 To Ga 30 Part List Pdf Washer Hardware Electrical Connector


Pin On Fix Cranes With Metal Disintegrators


Kubota D722 E2b Eu Y2 Schaffer Diesel Engine Parts List Manual Pdf Download Heydownloads Manual Downloads


Kubota Bx22 D Tractor Parts Catalogue Manual


Content Case 580 M Parts Catalog Pdf


Terex 970 Backhoe Loader Download Pdf Parts Manual


Rockshox Suspension Damper Rebuild Kits C J Suspension


Kubota Bx22 Bx23 Bx24 Parts Manual Set For Bx 22 23 24 Tractor Etsy


New Holland Kobelco Lb110 B Backhoe Loader Parts Catalog Pdf


Kubota Bx22d Parts


Kubota Bx22 Bx23 Bx24 Parts Manual Set For Bx 22 23 24 Tractor Etsy


8x3 6 Hole Two Piece Split Wheel For 5 00 8 Forklift Tire


Case 22 Utility Backhoe Unit Parts Manual Book For 430 440 Wheel Tractors Oem Ebay


Wain Roy Sherman Power Digger Backhoe Attachments Facebook


Wain Roy Sherman Power Digger Backhoe Attachments Facebook


Wain Roy Sherman Power Digger Backhoe Attachments Facebook

Iklan Atas Artikel

Iklan Tengah Artikel 1

Iklan Tengah Artikel 2

Iklan Bawah Artikel